|
|
|
|
|
|
|
|
|
|
|
|
|
|
|
|
|
|
|
|
|
|
|
|
|
|
|
|
|
|
| 订购热线 |
| 上海:021-63515828 |
| 桂林:0773-3842910 |
|
|
|
|
|
|
|
|
|
|
|
|
| 产品规格 |
| |
 |
|
|
|
|
|
|
|
精密剪钳(平剪形)
YN-10/12/13/17/20/23
|
●水平剪切,平剪口可避免剪切冲击力对精密零部件的损坏,
●配有防止切断导线飞散的手柄。(YN-10,12)
(注)请勿剪切铜线以外的材料。
|
|
|
|
  |
|
型号
|
最大剪径
|
A
|
B
|
C
|
E
|
I
|
L
|
|
YN-10
|
φ1.3
|
8
|
13.5
|
20
|
9
|
6
|
140
|
|
YN-12
|
φ1.0
|
8
|
10
|
18
|
9
|
5
|
137
|
|
YN-13
|
φ0.8
|
8
|
9.5
|
18
|
9
|
4
|
137
|
|
YN-17
|
φ1.3(薄型钳嘴)
|
8
|
13.5
|
20
|
9
|
5
|
138
|
|
YN-20
|
φ1.6
|
8
|
13.5
|
20
|
9
|
6
|
139
|
|
YN-23
|
φ1.3
|
12
|
13
|
21
|
9
|
6
|
140
|
|
|
精密剪钳/ 防静电型(平剪形)
YN-10AS/12AS/13AS
|
●水平形状切断,平剪口可避免冲击力把精密零部的导线件损坏,
(注)
请勿剪切铜线以外的材料。
|
|
|
|
 |
|
型号
|
最大剪径
|
A
|
B
|
C
|
E
|
I
|
L
|
|
YN-10AS
|
φ1.3
|
8
|
13.5
|
20
|
9
|
6
|
140
|
|
YN-12AS
|
φ1.0
|
8
|
10
|
18
|
9
|
5
|
137
|
|
YN-13AS
|
φ0.8
|
8
|
9.5
|
18
|
9
|
4
|
137
|
|
|
|
精密剪钳/ 高密度集成电路板用(平剪形)
YN-21
|
●贴装后,电子元件脚部剪断专用。
(注)
请勿剪切铜线以外的材料。 |
|
|
|
 |
|
型号
|
最大剪径
|
全长
|
|
YN-21
|
φ1.3mm
|
137mm
|
|
|
|
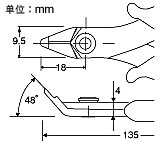
精密剪钳/
高密度集成电路板用
YN-15
●平面IC等拆除时,零件脚专用剪钳。
●刀刃水平面与印刷电路板平齐,专门
设计,平剪平面IC脚。
(注)
请勿剪切铜线以外的材料。 |
|
|
| |
 |
|
 |
|
型号
|
最大剪径
|
全长
|
|
YN-15
|
φ0.6mm
|
135mm
|
|
|
|
精密剪钳/ 平面IC
剪切专用(平面剪切)
YN-14
●平面IC等拆除时,IC脚专用剪钳。
●与一般剪钳不同,反面握紧,刀刃水平面在平面IC的反面剪脚。
(注)
请勿剪切铜线以外的材料。 |
|
|
| |
 |
|
 |
|
型号
|
最大剪径
|
全长
|
|
YN-14
|
φ0.6mm
|
135mm
|
|
|
|
精密剪钳/ 平面IC
剪切专用(平面切断)
YN-16
●平面IC等拆除时,IC脚专用剪钳。
●与一般剪钳不同,反面握紧,刀刃水平面在平面IC零件的反面剪脚。
(注)
请勿剪切铜线以外的材料。 |
|
|
| |
 |
|
 |
|
型号
|
最大剪径
|
全长
|
|
YN-16
|
φ1.3mm
|
135mm
|
|
|
|
|
|
|
|
TOP |
| |
|